
Die AD9772AAST ist ein 14-Bit-Digital-Analog-Wandler, der für die Hochgeschwindigkeitssignalerzeugung in Kommunikations- und Synthesesystemen entwickelt wurde.Es wandelt parallele digitale Daten mit hohen Aktualisierungsraten in präzise analoge Ausgänge um und unterstützt so die Erstellung breitbandiger Wellenformen.Das Gerät wird häufig in Senderpfaden eingesetzt, bei denen eine stabile Amplitudensteuerung und ein wiederholbares Ausgangsverhalten erforderlich sind.Seine Struktur ermöglicht eine einfache Anbindung an die digitale Verarbeitungslogik bei gleichzeitiger Beibehaltung einer vorhersehbaren Signalqualität.Dieses Teil eignet sich für drahtlose Infrastrukturen, Breitbandgeräte und Laborsignalquellen, die auf eine konsistente Analogumwandlungsleistung angewiesen sind.Suchen Sie nach AD9772AAST?Kontaktieren Sie uns, um den aktuellen Lagerbestand, die Lieferzeit und die Preise zu überprüfen.

| Pin-Nr. | Gedächtnisstütze | Beschreibung |
| 1, 2, 19, 20 | DCOM | Digitale gemeinsame Masseverbindung. |
| 3 | DB13 | Eingabe des höchstwertigen Datenbits. |
| 4 bis 15 | DB12 bis DB1 | Parallele digitale Dateneingänge von Bit 12 bis Bit 1. |
| 16 | DB0 | Eingabe des niedrigstwertigen Datenbits. |
| 17 | MOD0 | Digitale Hochpassfilter-Reaktionssteuerung, aktiv hoch, ermöglicht digitale Halbwellenmischung und Viertelwellen-Digitalmischung, wenn mit MOD1 hoch eingestellt. |
| 18 | MOD1 | Die Steuerung des Zero-Stuffing-Modus, aktiv hoch, ermöglicht Zero-Stuffing-Viertelwellen-Digitalmischung, wenn sie mit MOD0 auf High eingestellt ist. |
| 21, 22, 47, 48 | DVDD | Digitaler Versorgungsspannungseingang, 3,1 V bis 3,5 V. |
| 23, 24 | NC | Keine Verbindung, offen lassen. |
| 25 | PLLLOCK | Phasenregelkreis-Verriegelungsanzeige oder 1× Taktausgang, wenn PLL deaktiviert ist, hoch bedeutet PLL-Verriegelung, maximales Fanout weniger als 10 pF. |
| 26 | ZURÜCKSETZEN | Interner Teiler-Reset-Eingang, der zur Synchronisierung der internen Uhr verwendet wird, wenn PLL deaktiviert ist. |
| 27, 28 | DIV1, DIV0 | PLL-Vorteiler-Teilungsverhältnis-Steuerstifte. |
| 29 | CLK+ | Nichtinvertierender Differenztakteingang, vorgespannt auf CLKVDD geteilt durch zwei. |
| 30 | CLK− | Invertierender Differenztakteingang, vorgespannt auf CLKVDD geteilt durch zwei. |
| 31 | CLKCOM | Gemeinsame Referenz des Takteingangs. |
| 32 | CLKVDD | Versorgungsspannung für den Takteingang, 3,1 V bis 3,5 V. |
| 33 | PLLCOM | Gemeinsame Referenz des Phasenregelkreises. |
| 34 | PLLVDD | Versorgungsspannung des Phasenregelkreises, 3,1 V bis 3,5 V, an PLLCOM anschließen, um den PLL-Taktmultiplikator zu deaktivieren. |
| 35 | LPF | PLL-Schleifenfilterknoten, bleibt offen, es sei denn, die Aktualisierungsrate liegt unter 10 MSPS und ist ein externes RC-Netzwerk erforderlich. |
| 36 | SCHLAF | Abschaltsteuereingang, aktiv hoch, bei Nichtverwendung an ACOM anschließen. |
| 37, 41, 44 | ACOM | Analoger gemeinsamer Masseanschluss. |
| 38 | REFLO | Referenzmasse für interne 1,2-V-Referenz, an AVDD anschließen, um die interne Referenz zu deaktivieren. |



Der AD9772AAST bietet eine Auflösung von 14 Bit und ermöglicht so eine feine Steuerung der Ausgangssignalpegel.Diese Auflösung unterstützt die genaue Darstellung digital erzeugter Wellenformen bei der Umwandlung in analoge Form.Es trägt dazu bei, reibungslose Signalübergänge und ein stabiles Amplitudenverhalten in Signalerzeugungspfaden aufrechtzuerhalten.
Das Gerät unterstützt eine maximale Abtastrate von 160 MSPS und ermöglicht so eine schnelle Konvertierung digitaler Datenströme.Dank dieser Abtastfähigkeit kann der AD9772AAST Breitbandsignale ohne Verlust der Timing-Konsistenz verarbeiten.Es eignet sich für Systeme, die eine kontinuierliche Datenkonvertierung mit hoher Geschwindigkeit erfordern.
Der Konverter ist darauf ausgelegt, eine stabile dynamische Leistung in Sendesignalpfaden zu liefern.Es sorgt für ein konsistentes Ausgabeverhalten bei der Verarbeitung sich schnell ändernder digitaler Eingaben.Dies unterstützt eine saubere Signalbildung in Kommunikations- und Syntheseanwendungen.
Der AD9772AAST ist für den Einzelversorgungsbetrieb optimiert und vereinfacht so das Stromversorgungsdesign auf Systemebene.Diese Struktur reduziert den Bedarf an mehreren Spannungsschienen.Es unterstützt die einfache Integration in kompakte digitale und Mixed-Signal-Plattformen.
Die interne CMOS-DAC-Struktur unterstützt schnelles Schalten und vorhersehbares Ausgangsverhalten.Diese Architektur ermöglicht eine effiziente Digital-Analog-Umwandlung bei gleichzeitiger Beibehaltung eines konsistenten Signal-Timings.Es unterstützt einen stabilen Betrieb über eine Vielzahl von Datenmustern hinweg.
Das Gerät ist darauf ausgelegt, Nebenverzerrungen bei der Erzeugung analoger Signale zu minimieren.Dies trägt dazu bei, die Wellenformgenauigkeit in kommunikationsbezogenen Anwendungen zu bewahren.Ein sauberes Spektralverhalten unterstützt eine klarere Signalwiedergabe.
Der AD9772AAST ist in einem 48-poligen LQFP-Gehäuse mit einer Grundfläche von 7 x 7 mm untergebracht.Diese kompakte Form zur Oberflächenmontage unterstützt platzbeschränkte Designs.Es ermöglicht eine einfache Platzierung auf Standard-Leiterplatten.
Als Teil der TxDAC Plus-Serie passt das Gerät zu einer Familie von Hochgeschwindigkeits-Digital-Analog-Wandlern.Diese Positionierung unterstützt konsistente Funktionssätze über verwandte Teile hinweg.Dies ermöglicht eine einfachere Auswahl innerhalb ähnlicher Signalerzeugungsdesigns.
| Produktattribut | Attributwert |
| Hersteller | Analog Devices, Inc. |
| Gerätepaket des Lieferanten | 48-LQFP (7x7) |
| Serie | TxDAC+® |
| Paket/Koffer | 48-LQFP |
| Paket | Tasche |
| Montageart | Oberflächenmontage |
| Basisproduktnummer | AD9772A |
| Feuchtigkeitsempfindlichkeitsniveau (MSL) | 3 (168 Stunden) |
| ECCN | EAR99 |
| HTSUS | 8542.39.0001 |

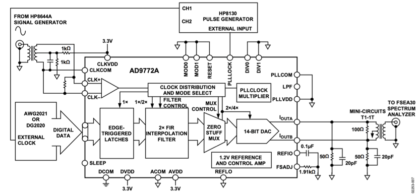
Stellt den internen Signalpfad und die Steuerungsarchitektur des Digital-Analog-Wandlers AD9772AAST vor und beschreibt detailliert, wie parallele 14-Bit-Eingangsdaten flankengetriggerte Latches, einen 2× FIR-Interpolationsfilter und einen Zero-Stuffing-Multiplexer durchlaufen, bevor sie den DAC-Kern erreichen.Takteingänge speisen ein Taktverteilungsnetzwerk mit wählbarer Teilung und einem PLL-basierten Taktmultiplikator, der höhere interne Betriebsraten unterstützt, während Modusauswahl und Filtersteuerlogik Konfigurationseinstellungen verwalten.Das Diagramm identifiziert auch den 1,2-V-Referenz- und Steuerverstärker auf dem Chip, externe Referenzeinstellstifte, Differenzstromausgänge sowie separate analoge und digitale Strom- und Erdungsdomänen und zeigt, wie Timing-, Datenverarbeitungs- und Vorspannungsfunktionen in das Gerät integriert sind.

Definiert eine Referenzmesskonfiguration, die zur Bewertung der Wechselstromleistung des AD9772AAST während Labortests verwendet wird.Digitale Daten werden von einem Mustergenerator oder einer Signalquelle geliefert und über differenzielle Takteingänge in das Gerät getaktet, mit optionaler Impulsgeneratorsteuerung für Reset- und Modusauswahl-Pins.Die interne Taktverteilung, der Interpolationsfilter und die DAC-Stufen arbeiten mit kontrollierten Versorgungsspannungen, während die Differenzstromausgänge über Impedanzanpassungsnetzwerke und Kopplungskomponenten geleitet werden.Das aufbereitete Ausgangssignal wird dann an externe Testgeräte wie einen Spektrumanalysator angeschlossen und ermöglicht die Messung der spektralen Reinheit, Verzerrung und Rauscheigenschaften unter definierten Betriebsbedingungen.
Der AD9772AAST wird in drahtlosen Übertragungssystemen verwendet, bei denen digitale Daten vor der Übertragung in stabile analoge Signale umgewandelt werden müssen.Es unterstützt hohe Aktualisierungsraten, die eine reibungslose Handhabung von Breitbandmodulationsschemata ermöglichen.Dadurch eignet es sich für Senderpfade, die ein vorhersehbares Ausgangsverhalten und eine konsistente Signalformung im Dauerbetrieb erfordern.
In direkten digitalen Synthesesystemen wandelt der AD9772AAST numerisch erzeugte Wellenformen in analoge Signale mit kontrollierter Auflösung um.Es unterstützt eine genaue Wellenformwiedergabe über einen breiten Frequenzbereich.Dadurch können Synthesesysteme bei Signalerzeugungsaufgaben wiederholbare Frequenz- und Amplitudeneigenschaften beibehalten.
Das Gerät wird häufig in Signalgeneratoren eingesetzt, die für Entwicklungs-, Verifizierungs- und Kalibrierungsarbeiten verwendet werden.Es ermöglicht eine präzise analoge Ausgabe, die aus digitalen Mustern abgeleitet wird.Dadurch können Signalgeneratoren unter verschiedenen Betriebsbedingungen saubere und wiederholbare Testsignale erzeugen.
Der AD9772AAST wird in Test- und Messgeräte integriert, die zur Analyse und Validierung auf gesteuerte Analogausgänge angewiesen sind.Sein Konvertierungsverhalten unterstützt über die Zeit stabile Signalpegel.Diese Konsistenz trägt dazu bei, zuverlässige Testergebnisse auch bei wiederholten Messzyklen aufrechtzuerhalten.
In Zwischenfrequenz- und Basisband-Signalverarbeitungsketten wandelt das Teil verarbeitete digitale Daten zur weiteren Verarbeitung in analoge Form um.Es unterstützt reibungslose Signalübergänge und stabile Ausgangspegel.Dadurch eignet es sich für Systeme, die komplexe digitale Daten vor der Analogwandlung verarbeiten.
Der AD9772AAST wird in der Breitband-Kommunikationsinfrastruktur eingesetzt, wo kontinuierliche Hochgeschwindigkeits-Datenströme in analoge Signale umgewandelt werden müssen.Es unterstützt den Breitbandbetrieb, der von modernen Kommunikationsstandards gefordert wird.Dies ermöglicht es Infrastruktursystemen, während der kontinuierlichen Datenübertragung eine konstante Signalausgabe aufrechtzuerhalten.

Definiert die mechanischen Gehäuseabmessungen für das vom AD9772AAST verwendete 48-polige Low-Profile-Quad-Flat-Gehäuse, wobei die Maße in Millimetern angegeben und an den JEDEC MS-026-BBC-Standards ausgerichtet sind.Die Draufsicht gibt den quadratischen Gehäuseumriss, die Ausrichtung von Pin 1, die Gesamtgröße des Gehäuses und den Leitungsabstand an, während in der Seitenansicht und im Schnitt die Gehäusehöhe, die Sitzebene, die Leitungsdicke und die Koplanaritätsgrenzen angezeigt werden.Detaillierte Beschriftungen identifizieren maximale und minimale Toleranzen für Leitungslänge und Gehäuseabmessungen und unterstützen die genaue Gestaltung des PCB-Footprints, die Ausrichtung der Baugruppe und die Überprüfung des mechanischen Abstands.
• Hohe Abtastrate unterstützt die Breitbandsignalerzeugung
• 14-Bit-Auflösung gleicht Geschwindigkeit mit Ausgabegenauigkeit aus
• TxDAC Plus-Architektur geeignet für Sendesignalpfade
• Das kompakte LQFP-Gehäuse unterstützt dichte PCB-Layouts
• Stabiles Verhalten bei der ZF- und Basisbandsignalerzeugung
• Etablierter Einsatz in Kommunikations- und Instrumentierungssystemen
• Kein integrierter Ausgangsverstärker
• Höherer Stromverbrauch als DAC-Geräte mit niedrigerer Geschwindigkeit
• Nur Einkanalbetrieb
• Älteres Design im Vergleich zu neueren DAC-Lösungen
• Für konsistente Hochgeschwindigkeitsergebnisse ist ein sorgfältiges PCB-Layout erforderlich
| Teilenummer | Hersteller | Hauptmerkmale | Anwendungsfall/Hinweise |
| AD9772AASTZ | Analog Devices Inc. | Präziser TxDAC+®-Hochgeschwindigkeits-Digital-Analog-Wandler mit gepuffertem Ausgang und oberflächenmontierbarem LFBGA-Gehäuse. | Geeignet für die Hochgeschwindigkeitssignalerzeugung und -modulation in der Kommunikation und Instrumentierung. |
| AD9772AASTZRL | Analog Devices Inc. | TxDAC+® DAC in Tape & Reel-Verpackung für die automatisierte Montage, der eine gleichbleibende Hochgeschwindigkeitsleistung bietet. | Ideal für die Massenfertigung in Systemen, die eine zuverlässige DAC-Integration erfordern. |
| AD9772AST | Analog Devices Inc. | Gepufferter Ausgangs-DAC mit paralleler LVDS-Schnittstelle und freiliegendem Pad-Gehäuse für optimierte thermische Leistung. | Wird in digitalen Hochgeschwindigkeitssignalverarbeitungs-, Test- und Mess- sowie Kommunikationsgeräten verwendet. |
Analog Devices, Inc. ist ein globales Technologieunternehmen, das sich auf die Entwicklung analoger, Mixed-Signal- und digitaler Signalverarbeitungskomponenten konzentriert.Das Unternehmen bedient ein breites Spektrum an Märkten, darunter Kommunikation, Industriesysteme, Automobilelektronik, Gesundheitsausrüstung und Instrumentierung.Das Produktportfolio umfasst Datenwandler, Verstärker, Schnittstellengeräte, Sensoren und Energiemanagementlösungen für komplexe elektronische Systeme.Das Unternehmen ist bekannt für lange Produktlebenszyklen, eine umfassende technische Dokumentation und ein breites Ökosystem, das das Design auf Systemebene unterstützt.Seine Lösungen werden häufig dort eingesetzt, wo eine genaue Signalverarbeitung und ein stabiler Betrieb erforderlich sind.
Der AD9772AAST zeichnet sich als zuverlässiger 14-Bit-Digital-Analog-Wandler aus, der für die Hochgeschwindigkeitssignalerzeugung entwickelt wurde.Sie erhalten eine starke Abtastleistung, ein sauberes Ausgabeverhalten und ein Design, das gut in Übertragungs-, Synthese- und Testsystemen funktioniert.Der Aufbau mit nur einer Versorgung und das kompakte LQFP-Paket machen die Integration einfacher.Das Gerät profitiert außerdem von der TxDAC Plus-Architektur und trägt so zur Aufrechterhaltung einer stabilen Signalqualität bei.Obwohl es keinen Ausgangsverstärker enthält, liefert es in Verbindung mit geeigneten externen Schaltkreisen konsistente Ergebnisse.Insgesamt ist es eine gute Wahl, wenn Sie eine schnelle und wiederholbare Analogwandlung benötigen.
Bitte senden Sie eine Anfrage, wir werden sofort antworten.
Der AD9772AAST ist ein 14-Bit-Digital-Analog-Wandler, der für die Hochgeschwindigkeitssignalerzeugung entwickelt wurde.
Es unterstützt Abtastraten von bis zu 160 MSPS und ist somit für Breitbandsignale geeignet.
Ja, es ist für den Einzelversorgungsbetrieb ausgelegt, was das Stromversorgungsdesign vereinfacht.
Das Gerät ist in einem 48-poligen LQFP-Gehäuse mit kompakter Grundfläche untergebracht.
Es wird häufig in drahtlosen Sendern, Signalgeneratoren, Testgeräten und ZF- oder Basisband-Signalverarbeitungssystemen verwendet.
auf 2026/01/26
auf 2026/01/25
auf 8000/04/21 147797
auf 2000/04/21 113681
auf 1600/04/21 111357
auf 0400/04/21 84420
auf 1970/01/1 80500
auf 1970/01/1 67280
auf 1970/01/1 63551
auf 1970/01/1 63271
auf 1970/01/1 54250
auf 1970/01/1 52345