
Der 2N3906 ist ein häufig verwendeter PNP-Transistor, der bei der Verstärkung und Schaltaufgaben mit geringer Leistung gut dient.Es wurde entwickelt, um mittelschwere Spannungsniveaus und kleine Ströme zu handhaben, indem es den Kollektor- und Emitterverbindungen zwischen offenen und geschlossenen Zuständen umschaltet, abhängig von der Spannung des Basisstiftes.Wenn der Basisstift geerdet ist, befindet sich der Transistor in einem vorwärts gerichteten Zustand, sodass der Strom vom Emitter zum Sammler fließen kann.Wenn ein Signal auf die Basis angewendet wird, wird es in einen umgekehrten Zustand eingeleitet, der den Stromfluss anhält.
Mit einem Verstärkungswert zwischen 110 und 300 kann dieser Transistor kleine Signale effektiv verstärken.Es hat jedoch eine aktuelle Begrenzung für seinen Sammler, so dass es für Anwendungen am besten geeignet ist, bei denen die aktuelle Anforderung unter 200 mA bleibt.Der 2N3906 verfügt über zwei Hauptbetriebszustände: Sättigung, in denen sich der Transistor vollständig anliegt und einen maximalen Stromfluss und einen Grenzwert ermöglicht, bei dem er völlig ohne Strom zwischen Emitter und Kollektor abgeschaltet ist.Diese Eigenschaften machen es für viele allgemeine Anwendungen vielseitig, sei es in grundlegenden Verstärkern oder einfachen Schaltkreisen.

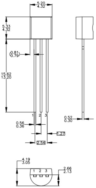
| PIN -Nummer | Pin -Name | Beschreibung |
| 1 | Emitter | Der aktuelle Abfluss durch den Emitter |
| 2 | Base | Kontrolliert die Verzerrung des Transistors |
| 3 | Kollektor | Der Strom fließt durch den Sammler |



Der 2N3906 ist ein PNP -Transistor, was bedeutet, dass er Strom leitet, wenn sich seine Basis in einer niedrigeren Spannung als der Emitter befindet.Dieses Design ermöglicht es ihm, den Stromfluss effektiv in Schaltkreisen mit geringer Leistung zu steuern, bei denen diese Art der Polarität erforderlich ist.
Mit einer Gleichstromverstärkung (HFE) von bis zu 300 kann der 2N3906 kleine Basisströme verstärken, um größere Sammlerströme zu erzeugen.Diese Funktion macht es zu einer guten Wahl für Anwendungen, die eine moderate Signalverstärkung erfordern.
Der Transistor kann einen kontinuierlichen Kollektorstrom von 200 mA bewältigen.Diese Kapazität ermöglicht es, Geräte mit geringer Leistung zu kontrollieren, ohne zu überhitzen oder zusätzliche Kühlmaßnahmen zu benötigen, sofern der Strom in seinem sicheren Bereich bleibt.
Eine Emitter-Base-Spannung (VBE) von 5 V bedeutet, dass der 2N3906 Schaltungen mit einem angemessenen Spannungsbereich verwalten kann, was es für typische Niederspannungsanwendungen geeignet ist, ohne komplexe Anpassungen zu erfordern.
Der 2N3906 ist in einem TO-92-Paket erhältlich, das klein und bequem für die Verwendung auf Steigboten und in kompakten Schaltungen ist.Dies erleichtert die Integration in Projekte, bei denen der Platz begrenzt ist.
Technische Spezifikationen, Merkmale, Merkmale und Komponenten mit vergleichbaren Spezifikationen von ON Semiconductor 2N3906BU.
| Typ | Parameter |
| Lebenszyklusstatus | Aktiv (zuletzt aktualisiert: vor 2 Tagen) |
| Fabrikvorlaufzeit | 6 Wochen |
| Montieren | Durch Loch |
| Montagetyp | Durch Loch |
| Paket / Fall | To-226-3, bis 92-3 (to-226aa) |
| Anzahl der Stifte | 3 |
| Gewicht | 179mg |
| Transistorelementmaterial | SILIZIUM |
| Collector-Emitter-Breakdown-Spannung | 40V |
| Anzahl der Elemente | 1 |
| Hfemin | 100 |
| Betriebstemperatur | -55 ° C ~ 150 ° C tj |
| Verpackung | Schüttgut |
| Veröffentlicht | 2007 |
| JESD-609 Code | E3 |
| Pbfree Code | Ja |
| Teilstatus | Aktiv |
| Feuchtigkeitsempfindlichkeit (MSL) | 1 (unbegrenzt) |
| Anzahl der Terminen | 3 |
| ECCN -Code | Ear99 |
| Terminal Finish | Zinn (sn) |
| Spannung - DC bewertet | -40V |
| Max -Leistungsdissipation | 625 mw |
| Endposition | UNTEN |
| Aktuelle Bewertung | -200 mA |
| Frequenz | 250 MHz |
| Basisteilnummer | 2N3906 |
| Elementkonfiguration | Einzel |
| Leistungsdissipation | 625 mw |
| Transistoranwendung | Umschalten |
| Gewinne Bandbreitenprodukt | 250 MHz |
| Polarität/Kanaltyp | PNP |
| Transistortyp | PNP |
| Kollektoremitterspannung (VCEO) | 40V |
| Max -Sammlerstrom | 200 mA |
| Gleichstromverstärkung (HFE) (min) @ IC, VCE | 100 @ 10ma 1V |
| VCE -Sättigung (max) @ ib, IC | 400mv @ 5ma, 50 mA |
| Übergangsfrequenz | 250 MHz |
| Kollektorbasisspannung (VCBO) | -40V |
| Emitterbasisspannung (VEBO) | -5v |
| Schalten Sie Zeitmax (Tonne) ein | 70ns |
| Höhe | 5.33 mm |
| Länge | 5.2mm |
| Breite | 4.19 mm |
| SVHC erreichen | Kein SVHC |
| Strahlenhärtung | NEIN |
| ROHS -Status | ROHS3 -konform |
| Frei führen | Frei führen |


| Modellnummer | Hersteller | Beschreibung |
| 2N3906D26Z | Fairchild Semiconductor Corporation | Bipolarer Signal-Signal-Transistor, 0,2A I (C), 40 V V (BR) CEO, 1-Element, PNP, Silicon, bis 92 |
| 2N3906D27Z | Fairchild Semiconductor Corporation | Bipolarer Signal-Signal-Transistor, 0,2A I (C), 40 V V (BR) CEO, 1-Element, PNP, Silicon, bis 92 |
| 2N3906RLRMG | Auf Halbleiter | Bipolarer Signal-PNP-Transistor, bis 92 40 V, 0,2 a, bis 92 (bis-226) 5,33 mm Körperhöhe, 2000-Fnfld |
| 2N3906RLRA | Motorola Semiconductor -Produkte | Bipolarer Signal-Signal-Transistor, 0,2A I (C), 40 V V (BR) CEO, 1-Element, PNP, Silicon, bis 92 |
| 2N3906AMO | NXP -Halbleiter | Transistor 200 Ma, 40 V, PNP, SI, kleiner Signaltransistor, bis 92, BIP Allzweck kleines Signal |
| 2N3906RLRPG | Rochester Electronics LLC | 200 mA, 40 V, PNP, SI, Small Signal Transistor, bis 92, Fall 29-11, bis-226, 3 Pin |
| 2N3906G | Mikro -kommerzielle Komponenten | Bipolarer Signal-Bipolar-Transistor, 0,2A I (C), 40 V V (BR) CEO, 1-Element, PNP, Silicon, bis 92, Plastikpaket-3 |
| 2N3906ta | Auf Halbleiter | 200 mA, 40 V PNP Small Signal Bipolar Junction Transistor, 2000-FNFLD |
| 2N3906Stob | ZETEX / DIODES INC | Bipolarer Signal-Bipolar-Transistor, 0,2A I (C), 40 V V (BR) CEO, 1-Element, PNP, Silicon, bis 92 Stil, E-Line-Paket-3 |
• BC157
• BC558
• 2SA1943
• BD140
• S8550
• TIP127
• TIP42
In einer grundlegenden PNP -Schaltung mit dem 2N3906 fungiert der Transistor normalerweise entweder als Schalter oder als Verstärker.Um als Schalter zu arbeiten, ist der Emitter mit einer positiven Spannungsquelle wie +3V verbunden, während an der Basis ein Schalter der Pushbutton platziert wird.Wenn der Taste nicht gepresst ist, fließt kein Strom an die Basis, wodurch der Transistor standardmäßig in einem "Ein" -Zustand steht.Diese Konfiguration ermöglicht es, den Strom zum Kollektor zu fließen und eine angeschlossene Komponente wie eine LED mit Strom zu versorgen.
Wenn die Taste gedrückt wird, wird die Spannung an der Basis größer als die am Emitter, die den Stromfluss zwischen Emitter und Kollektor blockiert und effektiv alle angeschlossenen Komponenten ausschaltet.Dieses Setup zeigt das Kernprinzip eines PNP -Transistors: Es bleibt in einem "On" -Zustand, solange die Basisspannung niedriger ist als der Emitter.Wenn die Basisspannung den Emitter überschreitet, blockiert sie den Stromfluss und schaltet die Schaltung "aus" aus.

Der 2N3906 ist weit verbreitet für die Schalt- und Verstärkungsaufgaben.Seine Struktur macht es ideal zum Umschalten mit hoher Spannung, mit niedrigem Strom, insbesondere wenn sie innerhalb seiner 200-mA-Stromlimit arbeitet.Es kann in Schaltungen verwendet werden, bei denen eine konsistente Verstärkung mit niedriger Ebene erforderlich ist, obwohl die Gewinngrenze bedeutet, dass sie nicht für eine starke Verstärkung geeignet ist.Aufgrund seiner PNP-Natur wird es häufig ausgewählt, wenn Konfigurationen der Rücklagepolarität erforderlich sind, was es für verschiedene Anwendungen mit geringer Leistung, einschließlich Signalsteuerung, LED-Schaltkreisen und motorischen Treibern mit niedrigem Strom.
Der Betrieb des 2N3906 als Schalter ist unkompliziert.In einer Standard -PNP -Konfiguration ist der Transistor normalerweise "auf", wenn der Basisstift geerdet ist.Mit diesem Standard -Status kann der Strom vom Emitter zum Sammler fließen.Um den Schalter "aus" auszuschalten, wird eine Spannungsquelle auf den Basisstift angewendet, wodurch verhindert wird, dass der Strom zwischen Emitter und Sammler fließt.Dieses Design hilft bei der Steuerung kleiner Lasten, ohne dass ein komplexes Setup erforderlich ist.
Um den Transistor im Switch -Modus zu schützen, ist es üblich, einen Widerstand zwischen der Basis und dem Steuereingang zu platzieren, der unter Verwendung der Formel RB = VBE / IB berechnet wird.Dieser Widerstand stellt sicher, dass der Strom, der zum Basisstift fließt, innerhalb sicherer Grenzen bleibt und potenzielle Schäden am Transistor verhindert.Wenn der 2N3906 mit diesem Widerstand konfiguriert ist, kann er einen Bereich von Geräten mit niedrigem Strom, wie z. B. kleine Motoren oder LEDs, zuverlässig steuern.

Die Teile auf der rechten Seite haben Spezifikationen, die dem On -Semiconductor 2N3906BU ähnlich sind.
| Hersteller | 2N3906BU | 2N3906ta | 2N3906TFR |
| Auf Halbleiter | Durch Loch | Durch Loch | Durch Loch |
| Paket / Fall | To-226-3, bis 92-3 | To-226-3, bis 92-3 (to-226aa) | To-226-3, bis 92-3 (to-226aa) |
| Sammleremitter B. | 40 v | 40 v | 40 v |
| Max Collector Curr. | 200 ma | 200 ma | 200 ma |
| Übergangsfrequenz | 250 MHz | 250 MHz | 250 MHz |
| Sammleremitter S. | -400 mv | -400 mv | -250 mv |
| hfe min | 100 | 100 | 100 |
| Max Power Dissipa. | 625 MW | 625 MW | 625 MW |
Der 2N3906 wird üblicherweise zum Schalten mit niedriger Strom und Hochspannungslasten verwendet.Es ist ideal für Schaltkreise, bei denen Sie einen zuverlässigen Schalter benötigen, der nicht viel Strom zeichnet, z. B. LED -Arrays oder einfache Relaissteuerungen.
Mit der mittelschweren Verstärkung können Signale in Audioschaltungen mit geringer Leistung und anderen kleinen Verstärkungsaufstellungen verstärkt werden.Es ist zwar nicht für die Hochleistungsverstärkung geeignet, passt jedoch zu kleineren, konsistenten Signalsteigerungen.
Das PNP -Design macht den 2N3906 in Wechselrichter- und Konverterschaltungen nützlich, insbesondere wenn die Stromausrichtskontrolle benötigt wird.Es kann so eingerichtet werden, dass Strömungen wechseln und Conversion -Funktionen in einfachen Stromverwaltungsdesigns unterstützt werden.
Der Transistor kann auch in Schaltkreisen verwendet werden, die zum Blinken von LEDs oder Lampen ausgelegt sind.Durch die Steuerung des Stromflusses basierend auf dem Eingangssignal erzeugt es einen einfachen Blinkereffekt, der in Indikatorlichtern oder Warnsignalen hilfreich ist.
Für Anwendungen, die eine höhere Verstärkung benötigen, kann der 2N3906 in einer Darlington -Konfiguration mit einem anderen Transistor gepaart werden.Dieses Setup verstärkt den Strom noch weiter und ermöglicht es, etwas größere Lasten zu treiben und gleichzeitig eine gute Leistung beizubehalten.



Auf Semiconductor konzentriert sich ein angesehener Hersteller auf die Bereitstellung effizienter Strom- und Signalmanagementlösungen.Ihre Produkte, einschließlich des 2N3906, sind so konzipiert, dass sie den Anforderungen einer breiten Palette von Anwendungen entsprechen, von Automobil- und Kommunikation über Computer-, Unterhaltungselektronik und Industriesysteme.Bekannt für ihre Innovation und ihr Engagement für die Qualität, bietet Semiconductor zuverlässige Komponenten, die von Ingenieuren und Designern weltweit verwendet werden, um effektive, nachhaltige Lösungen zu schaffen.Ihr Fokus auf die Energieeffizienz trägt zur Unterstützung umweltfreundlicher und energiesparender Projekte in mehreren Branchen.
Bitte senden Sie eine Anfrage, wir werden sofort antworten.
Der 2N3906BU -Transistor verfügt über 3 Stifte, die Emitter, Basis und Sammler sind.
Der 2N3906Bu arbeitet innerhalb eines Temperaturbereichs von -55 ° C bis 150 ° C, was die Verwendung unter verschiedenen Bedingungen unterstützt.
Der 2N3906 ist ein PNP -Bipolar -Junction -Transistor, was bedeutet, dass er es zulässt Stromfluss Wenn sich die Basis in einer niedrigeren Spannung als der Emitter befindet.
Der 2N3906 arbeitet mit mäßig hohen Geschwindigkeiten und ist so für schnelle Umschaltaufgaben in Schaltkreisen geeignet.
Der 2N3906 -Transistor wird je nach Schaltungskonfiguration üblicherweise als Schalter oder Verstärker verwendet.
Der 2N3906 verfügt über eine hohe Kollektor-zu-Emitter-Spannung, sodass sie höhere Spannungen in niedrigen Stromanwendungen verarbeiten können.
Die VBE für den 2N3906 ist 5 V, wodurch die Spannung definiert wird, die zur Aktivierung der Basis und zum Erliegen des Stromflusses erforderlich ist.
Der 2N3906 arbeitet in zwei Hauptregionen: der Sättigungsregion, wo Es ist vollständig eingeschaltet und die Grenzregion, in der es vollständig ausgeschaltet ist.
auf 2024/11/14
auf 2024/11/14
auf 8000/04/18 147758
auf 2000/04/18 111939
auf 1600/04/18 111349
auf 0400/04/18 83721
auf 1970/01/1 79508
auf 1970/01/1 66914
auf 1970/01/1 63062
auf 1970/01/1 63012
auf 1970/01/1 54081
auf 1970/01/1 52132