
Der TMS320C6421ZWT5 ist ein Hochleistungs-Digital-Signalprozessor (DSP), der von Texas Instruments als Teil seiner TMS320C64X+ -Familie entwickelt wurde.Dieses Gerät basiert auf der Velociti.2-VLIW-Architektur und liefert eine leistungsstarke Leistung für feste Punkte, die für die intensive Signalbehandlung in modernen eingebetteten Systemen entwickelt wurden.Mit Taktgeschwindigkeiten von bis zu 500 MHz können Sie mehrere Anweisungen pro Zyklus ausführen, sodass es für eine Vielzahl fortgeschrittener Verarbeitungsaufgaben geeignet ist.Die C6421-Serie gehört zur breiteren TMS320C6000-DSP-Plattform und führt den Fokus von Texas Instruments auf skalierbare und codemompatible Lösungen vor.Im Rahmen einer bewährten Familie von Prozessoren, die weltweit vertrauenswürdig sind, bietet der TMS320C6421ZWT5 eine zuverlässige Grundlage für langfristige Designs.
Auf der Suche nach TMS320C6421ZWT5?Kontaktieren Sie uns, um die aktuellen Aktien, die Vorlaufzeit und die Preisgestaltung zu überprüfen.

TMS320C6421ZWT5 -Symbol

TMS320C6421ZWT5 Footprint

TMS320C6421ZWT5 3D -Modell
• Hochleistungs-DSP-Kern
Das Gerät wird vom Velociti.2 ™ VLIW -Kern betrieben, der in einem einzigen Zyklus bis zu acht Anweisungen ausführen kann.Diese Architektur ermöglicht einen sehr hohen Durchsatz und macht sie ideal für komplexe Signalverarbeitungsaufgaben.
• Effiziente Multiplikatoren und Alus
Es integriert sechs arithmetische Logikeinheiten (ALUS) und zwei leistungsstarke Multiplikatoren, die mehrere Vorgänge gleichzeitig ausführen können.Dieses Design unterstützt intensive mathematische Operationen wie Filterung, Modulation und Codierung.
• Flexibler On-Chip-Speicher
Der Prozessor umfasst 16 KB -Programm -Cache, 48 KB -Datencache und 64 KB Unified L2 -Speicher.Diese internen Ressourcen verringern die Latenz und unterstützen eine schnellere Ausführung von Anwendungen.
• DDR2- und Flash -Speicherschnittstellen
Der Chip verfügt über einen 16-Bit-DDR2-SDRAM-Controller und ein asynchrone 8-Bit-EMIF für externes Speicher wie NOR und NAND Blitz.Diese Flexibilität ermöglicht es, den Speicher für größere Anwendungen zu erweitern.
• Vielseitige periphere Unterstützung
Es bietet eine breite Palette von Schnittstellen, darunter UART, I²C, MCBSP, MCASP mit SPDIF und eine 16-Bit-Host-Port-Schnittstelle.Diese machen den Prozessor für Telekommunikations-, Audio- und Industriesysteme hoch anpassbar.
• Verbesserter DMA -Controller (EDMA)
Ein 64-Kanal-erweiterter DMA-Controller unterstützt die schnelle Datenübertragung zwischen Speicher und Peripheriegeräten.Dies reduziert die CPU -Last und verbessert die Gesamtsystemleistung.
• Vernetzung und Konnektivität
Der Chip integriert einen 10/100 Ethernet -Mac in die MII/RMII -Unterstützung und eine VLYNQ -Schnittstelle für externe Konnektivität.Diese Funktionen machen es für Netzwerkanwendungen geeignet.
• Reiche Allzweck-I/O
Mit bis zu 111 Multiplex -GPIO -Stiften und drei PWM -Ausgängen bietet der DSP eine hervorragende Flexibilität für die Systemsteuerung und benutzerdefinierte Schnittstellen.Dies gewährleistet eine einfache Integration in eine Vielzahl von Hardwaredesigns.
• Niedrigspannungsbetrieb
Es arbeitet mit einer Kernspannung von 1,05 V oder 1,2 V und E/A -Spiegeln von 1,8 V oder 3,3 V. Dieses Gleichgewicht der Leistungseffizienz und Flexibilität macht es für eingebettete Designs zuverlässig.

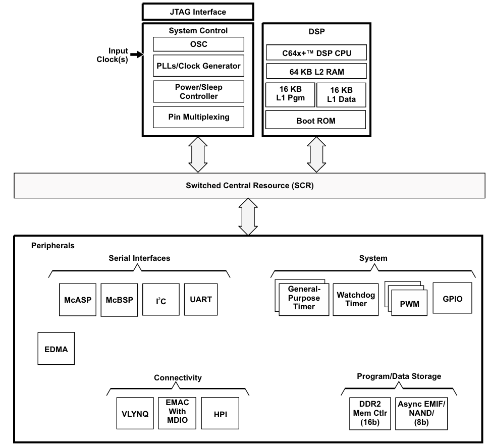
Das TMS320C6421ZWT5 -Funktionsblockdiagramm zeigt, wie der Prozessor seine Kern, Speicher und Peripheriegeräte zusammengleicht.In der Mitte befindet sich die C64X+ DSP -CPU mit L1- und L2 -Speicherplus -Boot -ROM, die einen schnellen Datenzugriff und das schnelle Start sicherstellt.Systemsteuerungsblöcke wie Oszillatoren, PLLs und Stromverwaltung behandeln die Uhrenerzeugung, die Modi mit geringer Leistung und die Signalrouting.
Alle Teile werden über die SCUTTED Central Resource (SCR) verknüpft, die wie der Hauptbus für den Datenfluss wirkt.Der Prozessor umfasst serielle Schnittstellen wie UART, I²C, MCBSP und MCASP, unterstützt von einem leistungsstarken EDMA-Controller für Hochgeschwindigkeitsdatenübertragungen.Es verfügt außerdem über Timer, Watchdog -Funktionen, PWM und GPIO für die allgemeine Systemsteuerung.
Für die Konnektivität bietet das Gerät Ethernet -Mac mit MDIO, VLYNQ und einer Host -Port -Schnittstelle, die es flexibel für die Netzwerk und externe Kommunikation macht.Die Speicherausdehnung wird durch einen DDR2 -Speichercontroller und ein asynchrones EMIF für NAND oder NOR FLASH unterstützt.Zusammen zeigen diese Blöcke, wie der Chip für die intensive Verarbeitung mit effizientem Speicher und breiten Konnektivitätsoptionen erstellt wurde.

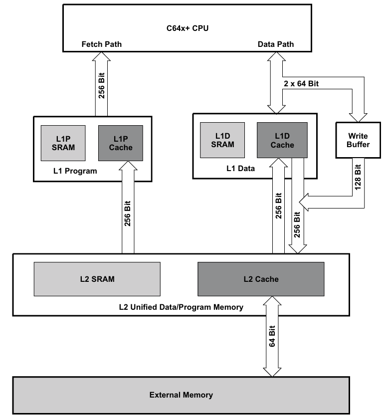
Die C64X+ Cache -Speicherarchitektur in der TMS320C6421ZWT5 wurde erstellt, um die CPU schnell auf Anweisungen und Daten zuzugreifen.Es beginnt mit dem L1 -Speicher, der in zwei Teile aufgeteilt ist: L1 -Programm (L1P) für Anweisungen und L1 -Daten (L1D) für Daten.Beide umfassen SRAM und Cache, die mit der CPU mit breiten 256-Bit-Pfaden für Hochgeschwindigkeitstransfers verbunden sind.
Daher funktioniert der L2 -Speicher als größerer, einheitlicher Raum für Daten und Programme.Es verfügt über SRAM und Cache und stellt über einen 64-Bit-Bus mit einem externen Speicher verbunden.Ein Schreibpuffer beschleunigt die Datenspeicherung durch Handhabung von Schreibvorgängen im Hintergrund.Dieses geschichtete Design hält häufig verwendete Daten in der Nähe der CPU und ermöglicht bei Bedarf den Zugriff auf einen größeren externen Speicher.

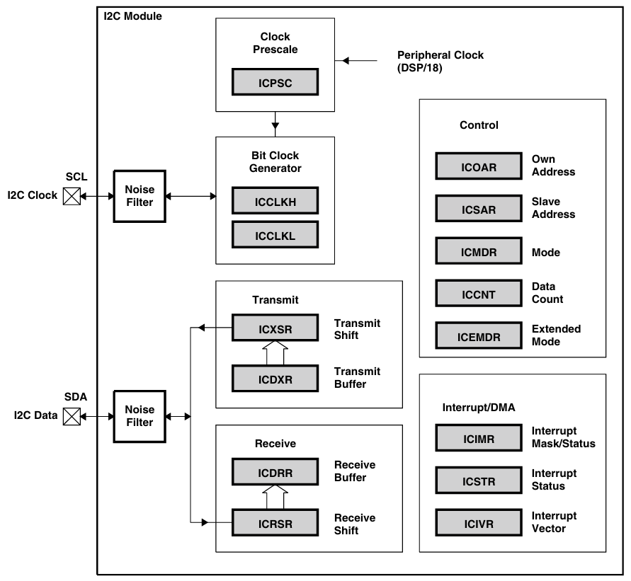
Das I²C -Modul im TMS320C6421ZWT5 steuert die Kommunikation über die beiden I²C -Linien, SCL für Clock und SDA für Daten.Beide Signale gehen durch Geräuschfilter, um die Übertragung stabil zu halten.Ein Uhren -Prescaler und ein Bit -Takt -Generator setzen die richtige Geschwindigkeit für die Kommunikation.
Das Modul verfügt über separate Pfade zum Senden und Empfangen von Daten.Der Sendeblock enthält Daten in einem Puffer, bevor der Empfangsblock eingehende Daten speichert, bevor sie an die CPU weitergegeben werden.Eine Steuereinheit verwaltet Adressen, Modi und Datenzahlen, sodass das Gerät entweder als Master oder als Slave funktionieren kann.
Es umfasst auch Interrupt- und DMA -Unterstützung, mit denen Datenübertragungen automatisch verarbeitet werden können, ohne dass die CPU ständig überprüft werden muss.Dies macht die I²C -Schnittstelle zuverlässig und effizient, um den DSP mit externen Geräten anzuschließen.
|
Typ |
Parameter |
|
Hersteller |
Texas Instrumente |
|
Serie |
TMS320C642X |
|
Verpackung |
Tablett |
|
Teilstatus |
Aktiv |
|
Typ |
Fixpunkt |
|
Schnittstelle |
HPI, I2C, MCASP, MCBSP, UART, 10/100 Ethernet Mac |
|
Taktrate |
500 MHz |
|
Nichtflüchtiger Gedächtnis |
ROM (64 KB) |
|
On-Chip-Ram |
96 kb |
|
Spannung - i/o |
1,8 V, 3,3 V |
|
Spannung - Kern |
1,05 V, 1,20 V. |
|
Betriebstemperatur |
0 ° C ~ 90 ° C (TJ) |
|
Montagetyp |
Oberflächenhalterung |
|
Paket / Fall |
361-LFBGA |
|
Lieferantengerätepaket |
361-NFBGA (16 × 16) |
|
Grundproduktnummer |
TMS320 |
1. Telekommunikations- und drahtlose Systeme
Der TMS320C6421ZWT5 wird aufgrund seiner Hochgeschwindigkeits-Signalverarbeitungsleistung häufig in der Telekommunikationsinfrastruktur und in drahtlosen Geräten verwendet.Es kümmert sich um Aufgaben wie Modulation, Demodulation und Kanalcodierung, die in Basisstationen, Gateways und Breitbandgeräten gut sind.Mit seiner integrierten Unterstützung von Ethernet Mac und DDR2 bietet es sowohl Konnektivität als auch die für die Kommunikation erforderliche Speicherbandbreite.
2. Audio- und Signalverarbeitung
Dieser DSP eignet sich gut für Audiosysteme, für die eine Hochleistungsberechnung und die Verarbeitung mit geringer Latenz erfordern.Es kann Multichannel -Sprachcodecs ausführen, Rauschunterdrückung durchführen und die Audioeffekte rechtzeitig verarbeiten.Schnittstellen wie MCBSP und MCASP machen es einfach, sich mit Audioausrüstung zu verbinden, um eine zuverlässige und qualitativ hochwertige Klangleistung zu gewährleisten.
3. Bildgebung und Videoanwendungen
Der C6421 kann auch auf Bildgebung und Videoaufgaben angewendet werden, die eine schnelle Datenverarbeitung erfordern.Der DSP -Kern ermöglicht es ihm, Komprimierung, Dekompression und Verbesserungsfunktionen für Kameras, Überwachungssysteme und eingebettete Sehvorrichtungen zu unterstützen.Durch die Nutzung der parallelen Ausführungsfunktionen ermöglicht es eine effiziente Handhabung von Bild- und Video -Streams.
4. industrielle und eingebettete Kontrolle
In der Industrie- und Büroautomatisierung wird das Gerät für die Integration von Timern, GPIOs, PWM und DMA bewertet, die eine enge Systemsteuerung bieten.Es wird in Anwendungen wie Druckern, Scannern, Motorcontrollern und eingebetteten Automatisierungseinheiten verwendet.Die effizienten Leistungsmodi und die Hochgeschwindigkeitsverarbeitung bieten zuverlässige Leistung und halten gleichzeitig den Energieverbrauch niedrig.
|
Spezifikation |
TMS320C6421ZWT5 |
TMS320C6421ZDU5 |
TMS320C6421ZDU4 |
TMS320C6421ZWTQ5 |
TMS320C6424 |
|
Kernarchitektur |
C64x+ velociti.2 vliw dsp |
C64x+ velociti.2 vliw dsp |
C64x+ velociti.2 vliw dsp |
C64x+ velociti.2 vliw dsp |
C64x+ velociti.2 vliw dsp |
|
Taktfrequenz |
500 MHz |
500 MHz |
600 MHz |
500 MHz |
Bis zu 720 MHz (höhere Stufe) |
|
Leistung (MIPS) |
~ 4.000 bei 500 MHz |
~ 4.000 bei 500 MHz |
~ 4.800 bei 600 MHz |
~ 4.000 bei 500 MHz |
Höher, bis zu ~ 8.000 MIPs |
|
On-Chip-Speicher |
L1P 16 KB, L1D 48 KB, L2 64 KB |
L1P 16 KB, L1D 48 KB, L2 64 KB |
L1P 16 KB, L1D 48 KB, L2 64 KB |
L1P 16 KB, L1D 48 KB, L2 64 KB |
Größere L2 -Optionen verfügbar |
|
ROM -Größe |
64 KB Boot ROM |
64 KB Boot ROM |
64 KB Boot ROM |
64 KB Boot ROM |
64 KB Boot ROM |
|
Externe Speicherunterstützung |
DDR2 (16-Bit), Emifa (8-Bit) |
DDR2 (16-Bit), Emifa (8-Bit) |
DDR2 (16-Bit), Emifa (8-Bit) |
DDR2 (16-Bit), Emifa (8-Bit) |
DDR2 (16-Bit), Emifa (8-Bit) |
|
Ethernet Mac |
10/100 MB/s mit MDIO |
10/100 MB/s mit MDIO |
10/100 MB/s mit MDIO |
10/100 MB/s mit MDIO |
10/100 MB/s mit MDIO |
|
Betriebstemperatur |
0 ° C bis 90 ° C (kommerziell) |
0 ° C bis 90 ° C (kommerziell) |
0 ° C bis 90 ° C (kommerziell) |
–40 ° C bis +125 ° C (industriell) |
0 ° C bis 90 ° C (kommerziell) |
|
Paket |
361-pin NFBGA (16 × 16 mm) |
361-pin NFBGA (Diff. Markierung) |
361-Pin NFBGA |
361-Pin NFBGA |
361-Pin NFBGA |
|
Anwendungen |
Telecom, Audio, eingebettet |
Telecom, Audio, eingebettet |
Leistungskritische Telekommunikation |
Industrielles/hartes Umfeld |
High-End-Telekom & VoIP |
Der Prozess bewegt sich in der Regel von der Einrichtung der Umgebung zum Schreiben, Debuggen und Bereitstellen optimierter DSP -Code.
1. Installieren Sie Entwicklungswerkzeuge
Der erste Schritt besteht darin, den Code Composer Studio (CCS), die integrierte Entwicklungsumgebung von TI, einzurichten.Diese Software bietet den Compiler-, Assembler-, Debugger- und Projektmanagement -Tools, der speziell für die C6000 DSP -Familie entwickelt wurde.Ohne dieses Setup wäre das Programmieren und Testen der DSP -Hardware nicht möglich.
2. Erstellen Sie ein neues Projekt
Beginnen Sie in CCS mit zunächst ein neues Projekt, das für das TMS320C6421 -Gerät konfiguriert ist.Dazu gehört die Auswahl der richtigen Kompilieroptionen, Linker -Befehlsdateien und Start -Code -Vorlagen.Richtige Projekt -Setup stellt sicher, dass die Speicherkarte und die Systemressourcen mit der Hardware übereinstimmen.
3. Schreiben Sie den Anwendungscode
Anwendungen können in C für die allgemeine Logik oder in der Montage für leistungskritische Routinen geschrieben werden.Viele nutzen die C64X+ VLIW -Architektur, mit der mehrere Anweisungen parallel ausgeführt werden können.Die Optimierung von Schleifen und die Verwendung von DSP-spezifischen Intrinsiks kann die Effizienz erheblich verbessern.
4.. Kompilieren und optimieren
Nach dem Codieren wird das Programm zusammengestellt und in Maschinenanweisungen zusammengestellt.Der Compiler von TI enthält Optimierungsfunktionen wie Software -Pipelining und Loop -Abliegen, um den Durchsatz zu maximieren.Zu diesem Zeitpunkt stellt der Programmierer sicher, dass die Ausführungsgeschwindigkeit und die Speichernutzung die Anwendungsanforderungen entsprechen.
5. Link und Laden
Die kompilierten Objektdateien sind gemäß der Speicherkarte des Geräts verknüpft und platzieren Code und Daten in den richtigen internen und externen Speicherbereichen.Sobald die Binärdatei durch den JTAG -Debugger auf den DSP geladen wird.Dies bereitet das System für die Ausführung auf der Hardware vor.
6. Debugug auf Hardware
Mit CCS können Sie Haltepunkte festlegen, Register überwachen und Anweisungen durchführen, während der DSP ausgeführt wird.Das Debuggen auf Hardware zeigt Verhalten wie Cache -Nutzung, Interrupts und Datenübertragungen.Dieser Prozess stellt sicher, dass die Anwendungsfunktionen unter tatsächlichen Betriebsbedingungen korrekt sind.
7. Bereitstellen und Überwachung
Sobald das Testen abgeschlossen ist, wird das Programm für die eigenständige Ausführung im Zielsystem bereitgestellt.Möglicherweise verwenden Sie CCS weiterhin, um die Leistung zu überwachen, Speicherzuweisungen zuzuweisen oder den Stromverbrauch zu verringern.Dieser letzte Schritt bestätigt, dass der DSP zuverlässig ausgeführt und für praktische Anwendungen bereit ist.
• hohe DSP-Leistung mit hoher Punkte mit VLIW-Parallelität
• Aufwärtscodekompatibilität mit älteren C6000 -Geräten
• Reicher Satz integrierter Peripheriegeräte reduzieren externe Komponenten
• Starkes Entwicklungs -Ökosystem mit CCS und Optimierungstools
• Flexibler Cache und Speicherarchitektur für eine schnellere Datenbearbeitung
• Keine dynamische Spannung oder Frequenzskalierung für die Leistungseinsparung
• höherer Stromverbrauch im Vergleich zu DSPs mit geringer Leistung
• Es fehlen integrierte Sicherheitsfunktionen für einen sicheren Start oder Schutz
• weniger geeignet für tragbare oder batteriebetriebene Anwendungen
• Festes Leistungsprofil mit begrenzter Anpassungsfähigkeit für den mobilen Gebrauch

|
Typ |
Parameter |
|
Paketart |
NFBGA (361-Ball, ZWT) |
|
Ball Grid Array |
16 × 16 |
|
Stiftanzahl |
361 |
|
Gesamtlänge (l) |
17,5 mm |
|
Gesamtbreite (W) |
15,45 mm |
|
Körpergröße |
15,90 mm - 16,10 mm |
|
Ball Tonhöhe |
0,80 mm |
|
Kugeldurchmesser |
0,45 mm - 0,55 mm |
|
Pakethöhe (h) |
1,19 mm - 1,40 mm |
|
Ballhöhe (Stand-Off) |
0,35 mm - 0,45 mm |
|
Sitzflugzeugtoleranz |
± 0,12 mm |
|
Eckindex (A1) |
Markierte Referenzecke |
Der TMS320C6421ZWT5 wird von hergestellt von Texas Instrumente (TI), eine führende amerikanische Halbleiterfirma mit Hauptsitz in Dallas, Texas.TI ist weltweit bekannt für seine Innovationen in analogen und eingebetteten Verarbeitungstechnologien und bietet Lösungen, die ein breites Spektrum von Branchen wie Telekommunikation, Automobile, industrielle Automatisierung und Unterhaltungselektronik betreiben.TI hat die TMS320-Familie als Eckpfeiler für Signalverarbeitungsanwendungen eingerichtet.Das Unternehmen unterstützt auch umfassende Design -Tools, Softwareumgebungen und Dokumentationen, um eine zuverlässige Integration seiner DSP -Produkte in erweiterte eingebettete Systeme zu gewährleisten.
Der TMS320C6421ZWT5 ist für seine starke Festungspunktleistung, sein flexibles Speichersystem und die umfangreiche Konnektivität, die anspruchsvolle Anwendungen in Kommunikation, Audio, Video und Automatisierung entspricht.Das Design macht die Entwicklung durch Code Composer Studio effizient, mit Tools zur Optimierung und Debugging für Hardware.Der Prozessor bietet eine gute Skalierbarkeit, eine starke Integration und eine breite Unterstützung, obwohl er einige Leistungsspar- und Sicherheitsfunktionen abbaut.Insgesamt bietet es eine zuverlässige Ausgewogenheit von Leistung, Speicher und Schnittstellen, die von der TI -Ökosystem und der nachgewiesenen C6000 -Plattform unterstützt werden, was es zu einer praktischen Wahl für fortschrittliche eingebettete Projekte macht.
Bitte senden Sie eine Anfrage, wir werden sofort antworten.
Ja.Es behält die Kompatibilität für den Aufwärtscode mit früheren C6000 -Geräten bei, um bestehende Projekte wiederzuverwenden und Entwicklungszyklen zu verkürzen.
Während es mehr Strom verbraucht als Ultra-Low-Power-DSPs, bietet es einen weitaus höheren Verarbeitungsdurchsatz, reichhaltigere Peripheriegeräte und schnellere Speicheroberflächen, wodurch es besser für leistungsintensive Designs geeignet ist.
Ja.Mit einer integrierten 10/100-Ethernet-Mac- und VLYNQ-Schnittstelle unterstützt der Prozessor die Netzwerkkonnektivität und ermöglicht es ihm, in Kommunikations- und Datenaustauschumgebungen gut zu funktionieren.
Ja.Der TMS320C6421ZWT5 enthält einen DDR2 -SDRAM -Controller und eine EMIF -Schnittstelle, die eine Verbindung zu NoR oder NAND Flash für größere Speicheranforderungen ermöglicht.
Der VLIW -Kern führt bis zu acht Anweisungen pro Zyklus aus, die von EDMA für schnelle Datenübertragungen unterstützt werden, wodurch es effizient ist, mehrere Aufgaben gleichzeitig zu erledigen.
auf 2025/08/28
auf 2025/08/26
auf 8000/04/19 147781
auf 2000/04/19 112051
auf 1600/04/19 111352
auf 0400/04/19 83806
auf 1970/01/1 79611
auf 1970/01/1 66991
auf 1970/01/1 63115
auf 1970/01/1 63051
auf 1970/01/1 54097
auf 1970/01/1 52201