
Der TIP42C verkörpert einen PNP-Leistungstransistor, der in einem Plastikpaket zu 220 untergebracht ist.Diese Serie enthält vier Variationen: TIP42Anwesend TIP42A Anwesend TIP42Bund TIP42C.Der TIP42C stammt aus der Spannungskapazität, in der er bis zu -100 V verarbeiten kann und eine außergewöhnliche Vielseitigkeit für zahlreiche Umschalt- und Verstärkungsnutzungen bietet.Die häufige Paarung mit dem NPN -Gegenstück, dem TIP41C, betont seine ausgewogene Anwendung in elektronischen Designs weiter.
Der TIP42C wurde entwickelt, um bis zu 65 W zu leiten und einen maximalen Sammlerstrom von -6a zu verwalten, und wird in Kraftintensivkontexten bevorzugt.Zu den typischen Nutzungen gehören Audioverstärker, bei denen Klarheit dominierende Klarheit und Stromverwaltungssysteme ist, um einen konsistenten Energiefluss zu gewährleisten.Aus praktischen Verwendungen wird die Stabilität des TIP42C unter unterschiedlichen Temperaturbedingungen für das Wechseln der Regulierungsbehörden innerhalb der Stromversorgungseinheiten von unschätzbarem Wert.Das TO-220-Paket verstärkt seine Wärmeabteilung und verlängert das Betriebsleben erheblich, ein Merkmal, das sowohl in der Unterhaltungselektronik als auch in der Industriemaschinerie geschätzt wird.
Wenn ein System komplementäre Transistorpaare verlangt, tritt der mit dem TIP41C kombiniertes TIP42C als ausgezeichnete Wahl auf.Diese Synergie vereinfacht das Schaltungsdesign und steigert gleichzeitig die Gesamtleistung.Diese Paarung verbessert die Klangqualität in Audioverstärkungsschaltungen, eine subtile, aber wirkungsvolle Verbesserung der Audio -Technologie.In der TIP42-Serie ist die bemerkenswerte höhere Spannungskapazität des TIP42C für Hochspannungsanwendungen ideal.Andererseits können für Projekte mit niedrigeren Spannungsbedürfnissen der TIP42 und TIP42A ausreichen.Für anstrengendere Anforderungen sind TIP42B und TIP42C jedoch die Optionen.Jede Variation trägt eindeutige Attribute, die für bestimmte Anforderungen geeignet sind, sodass der Auswahlprozess sowohl ernst und faszinierend ist.

|
Pin -Nr. |
Pin -Name |
Beschreibung |
|
1 |
Base |
Steuert die Verzerrung des Transistors und wird daran gewöhnt
Ein-/aus dem Transistor ein-/ausschalten |
|
2 |
Kollektor |
Wo der Strom fließt, normalerweise mit der Last verbunden |
|
3 |
Emitter |
Wo der Strom fließt, normalerweise mit dem Boden verbunden |



|
Besonderheit |
Spezifikation |
|
Transistortyp |
PNP |
|
Paketart |
To-220 |
|
Max -Sammlerstrom (IC) |
-6a |
|
Max Collector-Emitter-Spannung (VCE) |
-100V |
|
MAX Collector-Base-Spannung (VCB) |
-100V |
|
Maximaler-Basisspannung (VEBO) |
-5v |
|
Max Collector Dissipation (PC) |
65 Watt |
|
Maxe Übergangsfrequenz (FT) |
3 MHz |
|
Gleichstromverstärkung (HFE) |
15 - 75 |
|
Max -Speicher- und Betriebstemperatur |
-65 bis +150 ° C. |
Die TIP42C-Serie führt ein PNP-NPN-Komplementärdesign vor und steigert die Effizienz und Leistung des Schaltkreises deutlich.Komplementäre Paare, wie sie in dieser Serie zu finden sind, erleichtern den nahtlosen Betrieb sowohl in der Verstärkung als auch in der Schaltszenarien und verringern dadurch die Notwendigkeit zusätzlicher Komponenten und Stromlinienlayouts.
Ein bemerkenswerter Vorteil der TIP42C-Serie liegt in der Hochgeschwindigkeitsschaltfunktion.Diese Funktion unterstützt schnelle Zustandsübergänge mit minimaler Verzögerung, ideal für Anwendungen, die schnelle Reaktionszeiten wie motorische Steuerung und Signalverarbeitung fordern.Die Fähigkeit der Komponente, die Effizienz und Zuverlässigkeit des Gesamtsystems schnell zu wechseln, wird zu einer bevorzugten Auswahl für Stromversorgungsschaltungen, die einen stabilen und effizienten Betrieb erfordern.
Die TIP42C -Serie fällt auf ihre verbesserte HFE -Linearität auf.Eine erhöhte Linearität in der aktuellen Verstärkung (HFE) gewährleistet konsistente Amplifikationseigenschaften über einen vielfältigen Bereich von Betriebsbedingungen.Diese Zuverlässigkeit führt zu einer vorhersehbareren und stabileren Leistung, insbesondere für die analoge Signalverarbeitung und Präzisionsinstrumentierung.In praktischen Anwendungen können operative Verstärker und analoge Schaltkreise eine Hochtreue erreichen und die Integrität der von ihnen verarbeitenden Signale aufrechterhalten.
TIP42C -Transistoren Feature gruppierte HFE -Werte, die anhand ihres aktuellen Verstärkungsbereichs kategorisiert sind.Dies bietet einen Vorteil in Anwendungen, die übereinstimmende Paare erforderlich sind, indem der Entwurfsprozess vereinfacht und die individuellen Testbemühungen gesenkt werden.Gruppierte HFE -Werte stellen sicher, dass gepaarte Transistoren einheitlich funktionieren, ein Absetzaspekt bei Differentialverstärkerdesigns und anderen symmetrischen Schaltungskonfigurationen.
|
Typ |
Parameter |
|
Lebenszyklusstatus |
Aktiv (zuletzt aktualisiert: vor 8 Monaten) |
|
Fabrikvorlaufzeit |
8 Wochen |
|
Montieren |
Durch Loch |
|
Montagetyp |
Durch Loch |
|
Paket / Fall |
To-220-3 |
|
Anzahl der Stifte |
3 |
|
Gewicht |
4.535924g |
|
Transistorelementmaterial |
SILIZIUM |
|
Collector-Emitter-Breakdown-Spannung |
100V |
|
Anzahl der Elemente |
1 |
|
Hfemin |
15 |
|
Betriebstemperatur |
150 ° C tj |
|
Verpackung |
Rohr |
|
JESD-609 Code |
E3 |
|
Teilstatus |
Aktiv |
|
Feuchtigkeitsempfindlichkeit (MSL) |
1 (unbegrenzt) |
|
Anzahl der Terminen |
3 |
|
ECCN -Code |
Ear99 |
|
Terminal Finish |
Matte Dose (sn) |
|
Spannung - DC bewertet |
-100V |
|
Max -Leistungsdissipation |
65W |
|
Aktuelle Bewertung |
-6a |
|
Basisteilnummer |
TIP42 |
|
Stiftanzahl |
3 |
|
Elementkonfiguration |
Einzel |
|
Leistungsdissipation |
65W |
|
Transistoranwendung |
Umschalten |
|
Gewinne Bandbreitenprodukt |
3MHz |
|
Polarität/Kanaltyp |
PNP |
|
Transistortyp |
PNP |
|
Kollektoremitterspannung (VCEO) |
100V |
|
Max -Sammlerstrom |
6a |
|
Gleichstromverstärkung (HFE) (min) @ IC, VCE |
15 @ 3a 4v |
|
Strom - Sammler Cutoff (max) |
700 μA |
|
JEDEC-95 CODE |
To-220ab |
|
VCE -Sättigung (max) @ ib, IC |
1,5 V @ 600 mA, 6a |
|
Übergangsfrequenz |
3MHz |
|
Kollektorbasisspannung (VCBO) |
100V |
|
Emitterbasisspannung (VEBO) |
5v |
|
Höhe |
15,75 mm |
|
Länge |
10,4 mm |
|
Breite |
4,6 mm |
|
SVHC erreichen |
Kein SVHC |
|
Strahlungshärtung |
NEIN |
|
ROHS -Status |
ROHS3 -konform |
|
Frei führen |
Frei führen |
|
Teilenummer |
Beschreibung |
Hersteller |
|
2N2646-JQR-AR1 |
Bipolarer Transistor von Power, 10A (IC), 70 V V (BR) CEO, CEO,
1-Element, PNP, Silizium, bis-204aa, Metall, 2 Pin, Hermetikversiegelung, Metall,
To-3, 2 Pin |
TT -Elektronikwiderstände |
|
2n2646-modr1 |
10A, 70 V, PNP, SI, Power Transistor, bis 204aa, Hermetik
Versiegelt, Metall, bis 3, 2 Pin |
TT Electronics Power und Hybrid / Semelab Limited |
|
Bux66 |
Transistor |
General Electric Festkörper |
|
Jan2N6212 |
Transistor, BJT, PNP, 300 V (BR) CEO, 2A IC, bis 66 |
Intersil Corporation |
|
MJ2500 |
Transistoren mit mittlerer Leistung ergänzt Silizium |
New Jersey Semiconductor Products Inc. |
|
2N4240R1 |
5A, 300 V, NPN, SI, Power Transistor, bis 66, bis 66, 2 Pin |
TT Electronics Power und Hybrid / Semelab Limited |
|
2n2647 |
Transistor |
API Technologies Corp |
|
2N2647-JQR-B |
Bipolarer Transistor von Power, 10A (IC), 90 V V (BR) CEO, CEO,
1-Element, PNP, Silizium, bis-204aa, Metall, 2 Pin, Hermetikversiegelung, Metall,
To-3, 2 Pin |
TT -Elektronikwiderstände |
|
2N6313-mod |
5A, 600 V, PNP, SI, Power Transistor, to-213aa, Hermetik
Versiegelt, Metall, bis 66, 2 Pin |
TT Electronics Power und Hybrid / Semelab Limited |
|
Jan2N6211 |
Bipolarer Transistor von Power, 2A (IC), 225 V V (BR) CEO, CEO,
1-Element, PNP, Silizium, bis 66, Metall, 2 Pin, bis 66, 2 Pin |
Microsemi Corporation |
•TIP41C Transistor
Der TIP41C-Transistor ist für eine Sammler-Emitter-Spannung (VCE) von bis zu 100 V ausgelegt.Es ist in der Lage, einen Kollektorstrom (IC) von 6A ohne die Leistung zu verwalten.Dieser Transistor kann das Stromverbrauch bis zu 65W auflösen, wodurch er für Anwendungen geeignet ist, bei denen das Wärmemanagement ein Problem darstellt.Der TIP41C hat eine Anschlusstemperatur (TJ), die bis zu 150 ° C erreichen kann und die Zuverlässigkeit unter erheblicher thermischer Spannung bietet.
Der TIP41C wird innerhalb eines Lagertemperaturbereichs von -65 ° C bis 150 ° C rau.Seine robuste Konstruktion sorgt für die Funktionalität in einer Vielzahl von anspruchsvollen Umgebungen.Audioverstärkung und Signalverarbeitung.Der TIP41C -Transistor findet häufig seine Verwendung in Audioverstärkungssystemen, bei denen er zur Klarheit und Kraft des Klangs beiträgt.Bei motorischen Steuerungsanwendungen hilft es bei der Regulierung der Motordrehzahl und bietet einen reibungslosen und effizienten Übergang zwischen Motorzuständen.Diese Fähigkeit übereinstimmt eng mit den aktuellen Handhabungseigenschaften.Der TIP41C dient in Relais-Treibern, da sie hochströmende Lasten effizient wechseln und steuern können.Seine Leistungsmanagementfähigkeiten gewährleisten eine konsistente Leistung.
Betrachten Sie bei der Integration des TIP41C in eine Schaltung den geeigneten Kühlkörper, um eine Überhitzung zu verhindern, die die Leistung und die Lebensdauer beeinträchtigen könnte.Achten Sie auf die Sättigungsspannung (VCE (SAT)) und die Schaltzeiten (TON und TOFF), wenn Sie Schaltungen entwickeln, die ein schnelles Umschalten erfordern, da diese Parameter die Gesamtwirkungsgrad und -geschwindigkeit beeinflussen.Eine ordnungsgemäße Verzerrung ist erforderlich, um die Stabilität des TIP41C unter verschiedenen Betriebsbedingungen aufrechtzuerhalten.Bewerten Sie die externen Widerstände und Kondensatoren, um eine zuverlässige Leistung zu gewährleisten.
Der TIP42C findet eine umfassende Verwendung in Hochleistungsanwendungen in elektronischen Schaltkreisen, die bis zu -6A -Kollektorstrom und -100V -Kollektor -Emitter -Spannung geschickt verwaltet werden.
Aufgrund seiner beträchtlichen Strom- und Spannungsmanagementfunktionen ist der TIP42C eine gute Wahl für das Fahren von Hochleistungsschalter und Relais.Diese Anwendungen umfassen motorische Steuerungssysteme, bei denen die Präzision der Stromversorgung an den Motor die Leistung erheblich beeinflussen kann.Zum Beispiel hängt der Betrieb von schweren Maschinen in der industriellen Automatisierung häufig von Transistoren ab, um hohe Lasten zu bewältigen, ohne der Überhitzung oder einem Versagen zu erliegen.
Der TIP42C ist auch bei der Leistung von Audioverstärkern mit hoher Wattage effektiv und ermöglicht die Audioverstärkung bis zu 65 W.Dies gewährleistet eine klare und leistungsstarke Tonausgabe, die für Verbraucher -Audiosysteme geeignet ist.Beispielsweise ist die robuste Verstärkung dieser Transistoren in Live -Konzert -Soundsystemen gefährlich, um sicherzustellen, dass Audiosignale ohne Verzerrung gesteigert werden.
TIP42C findet aufgrund seines Merkmals als PNP -Bipolar -Junction -Transistor einen umfassenden Einsatz in allgemeinen Schaltungskonstruktionen.Seine Resilienz ermöglicht es ihm, eine breite Palette von Spannungs- und Stromniveaus assig zu behandeln, wodurch die Schaltungsstabilität erhöht wird.Bei gemeinsamen Emitterkonfigurationen trägt es erheblich zur Verstärkung von Spannungssignalen bei.
In Batterieladungsanwendungen ist TIP42C für die Regulierung der Ladespannung und des Stroms grundlegend, um sicherzustellen, dass der Vorgang sowohl schnell als auch sicher ist.Beobachtungen aus tatsächlichen Anwendungen unterstreichen das thermische Management als beharrlich auf die Aufrechterhaltung einer konsistenten Leistung über längere Zeiträume.
TIP42C findet einen effektiven Einsatz in den Darlington -Paarkonfigurationen, um einen höheren Stromverstärkung zu erzielen.Diese Anordnung verstärkt die Eingangsströme deutlich, sodass sie für Anwendungen geeignet ist, die eine überlegene Stromverstärkung fordern.Die Verwendung von Kühlkörper in praktischen Implementierungen hilft bei der Aufrechterhaltung der operativen Stabilität und verlängert die Lebensdauer des Geräts.

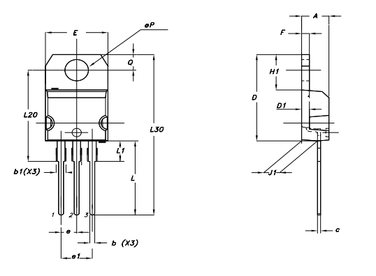
|
Düster |
mm |
Zoll |
||||
|
Min |
Typ |
Max |
Min |
Typ |
Max |
|
|
A |
4.4 |
4.6 |
0,173 |
0,181 |
||
|
B |
0,61 |
0,88 |
0,024 |
0,034 |
||
|
B1 |
1.14 |
1.7 |
0,044 |
0,066 |
||
|
C |
0,49
|
0,7 |
0,019 |
0,027 |
||
|
D |
15.25 |
15.75 |
0,6 |
0,62 |
||
|
D1 |
1.27 |
0,05 |
||||
|
E |
10 |
10.4 |
0,393 |
0,409 |
||
|
e |
2.4 |
2.7 |
0,094 |
0,106 |
||
|
E1 |
4.95 |
5.15 |
0,194 |
0,202 |
||
|
F |
1.23 |
1.32 |
0,048 |
0,051 |
||
|
H1 |
6.2 |
6.6 |
0,244 |
0,256 |
||
|
J1 |
2.4 |
2.72 |
0,094 |
0,107 |
||
|
L |
13 |
14 |
0,511 |
0,551 |
||
|
L1 |
3.5 |
3.93 |
0,137 |
0,154 |
||
|
L20 |
16.4 |
0,645 |
||||
|
L30 |
28.9 |
1.137 |
||||
|
Øp |
3.75 |
3.85 |
0,147 |
0,151 |
||
|
Q |
2.65 |
2.95 |
0,104 |
0,116 |
||
Stmicroelectronics ist ein Pionier in der Halbleiterinnovation und zeichnet sich hauptsächlich in der System-on-Chip-Technologie (SOC) aus.Das Unternehmen bietet eine Vielzahl von Silizium- und Systemlösungen an, um unterschiedliche Mikroelektronikanwendungen zu erfüllen.
STMICROELECTRONICS ist für seine SOC -Technologie bekannt und integriert mehrere Funktionen in einen einzelnen Chip und steigert Effizienz und Leistung.In der schnelllebigen technologischen Landschaft werden kompakte und zuverlässige Verarbeitungseinheiten begehrt.Durch kontinuierliche Innovation und Anpassung stellt die Stmicroelektronik sicher, dass ihre SOC -Lösungen zu diesem Anlass steigen und die durch jahrelange Erfahrung gewonnenen Weisheit widerspiegeln.
STMICROELECTRONICS bietet ein breites Spektrum von Siliziumlösungen in Mikrocontrollern, analogen und gemischten Signalkomponenten, Sensoren und Leistung-ICs.Diese Elemente sind der Schlüssel zur Erstellung fortschrittlicher elektronischer Systeme und fördern die nahtlose Integration und optimale Funktionalität.Ihre Systemlösungen verkörpern ein tiefes Verständnis der Hardware- und Software -Interaktionen, mit dem ihre Produkte in einer Vielzahl von Umgebungen bewundernswert abschneiden können.Das IP -Portfolio von STMICROELECTRONICS (IP) bedeutet sein Engagement für kontinuierliche Innovationen.Diese Fülle von Patenten und proprietären Technologien ermöglicht das Unternehmen, einzigartige und aktuelle Lösungen zu liefern.Indem sie ihre IP -Vermögenswerte strategisch nutzen, bieten sie unterschiedliche Vorteile bei der Produktentwicklung, ähnlich wie die Verwendung angesammeltes Fachwissen zur Förderung fortlaufender Innovationen.
Die starken Fertigungsfähigkeiten von Stmicroelectronics gewährleisten eine konsistente Produktqualität und -verträgung.Mithilfe modernster Einrichtungen und strenger Qualitätskontrollmaßnahmen erfüllt jedes Produkt die anspruchsvollen Branchenstandards.Die Einführung fortschrittlicher Fertigungstechniken und einer Kultur der kontinuierlichen Verbesserung ermöglicht es dem Unternehmen, seinen Wettbewerbsvorteil auf dem Halbleitermarkt aufrechtzuerhalten.
Der TIP42C ist ein PNP-Leistungstransistor auf Siliziumbasis, der sowohl in der Verstärkung als auch bei der Schaltanwendungen für seine Effizienz gelobt wird.Zu den schwerwiegenden elektrischen Eigenschaften gehören eine 100-V-Spannungstoleranz sowohl an den Kollektor-Emitter- als auch in den Basiskollektor Terminals.Die Vielseitigkeit dieses Transistors positioniert es als bevorzugte Option in zahlreichen elektronischen Schaltungen.
Die Gewährleistung der Langlebigkeit des TIP42C in Schaltkreisen beinhaltet die Einhaltung verschiedener Best Practices angemessenes thermisches Management.Durch die Verwendung eines gut geeigneten Kühlkörpers kann die Überhitzungsrisiken zwingend abhitzig reduzieren.Ein ausreichender Basiswiderstand ist erforderlich, um den Basisstrom zu steuern, wodurch unnötige Stromversorgung verhindert wird.Es ist ratsam, die Lastgrenzen von -6a und -100 V zu vermeiden, um elektrische Spannungen zu verhindern, was die Integrität des Transistors untergraben könnte.Die Aufrechterhaltung der Betriebsbedingungen von mindestens 20% unter den maximalen Bewertungen ist ein kluger Ansatz.Dieser Puffer kann die Lebensdauer der Komponente verlängern und die Gesamtzuverlässigkeit stärken.Die praktische Erfahrung in der Elektronik zeigt, dass konservative operative Margen sowohl die Langlebigkeit als auch die Systemstabilität der Komponenten fördern.Außerdem ist die Sicherstellung, dass die Lager- und Betriebstemperaturen innerhalb des Bereichs -65 ° C bis +150 ° C bleiben, für die Konservierung der Siliziumstruktur des Transistors von entscheidender Bedeutung.
Bitte senden Sie eine Anfrage, wir werden sofort antworten.
auf 2024/10/18
auf 2024/10/18
auf 8000/04/18 147758
auf 2000/04/18 111938
auf 1600/04/18 111349
auf 0400/04/18 83721
auf 1970/01/1 79508
auf 1970/01/1 66914
auf 1970/01/1 63061
auf 1970/01/1 63012
auf 1970/01/1 54081
auf 1970/01/1 52131