
Die AD5328BRU ist ein 12-Bit-Digital-Analog-Wandler, der acht unabhängige Spannungsausgangskanäle in einem einzigen oberflächenmontierbaren Gerät bietet.Es wandelt digitale Eingangsdaten in stabile analoge Pegel um, die für Systeme geeignet sind, die eine koordinierte Mehrkanalsteuerung erfordern.Jeder Ausgang ist intern gepuffert, was den direkten Anschluss an externe Schaltkreise ohne zusätzliche Komponenten ermöglicht.Das Gerät kommuniziert über eine serielle Schnittstelle und ermöglicht so eine einfache Integration mit digitaler Steuerlogik.Zu den häufigsten Anwendungen gehören die Signalanpassung, Spannungseinstellung und Mehrkanalsteuerung in Mess- und Automatisierungsgeräten.Suchen Sie nach AD5328BRU?Kontaktieren Sie uns, um den aktuellen Lagerbestand, die Lieferzeit und die Preise zu überprüfen.

| Pin-Nummer | Pin-Name | Beschreibung |
| 1 | LDAC | Aktive Low-Steuerung, die Eingangsregisterdaten an DAC-Register überträgt |
| 2 | SYNC | Aktive Low-Frame-Synchronisierung für serielle Datenübertragung |
| 3 | VDD | Stromversorgungseingang, 2,5 V bis 5,5 V |
| 4 | VOUTA | Gepufferter Analogausgang von DAC A |
| 5 | VOUTB | Gepufferter Analogausgang von DAC B |
| 6 | VOUTC | Gepufferter Analogausgang von DAC C |
| 7 | VOUTD | Gepufferter Analogausgang von DAC D |
| 8 | VREFABCD | Referenzeingang für DAC-Kanäle A bis D |
| 9 | VREFEFGH | Referenzeingang für DAC-Kanäle E bis H |
| 10 | Voute | Gepufferter Analogausgang von DAC E |
| 11 | VOUTF | Gepufferter Analogausgang von DAC F |
| 12 | VOUTG | Gepufferter Analogausgang vom DAC G |
| 13 | VOUTH | Gepufferter Analogausgang vom DAC H |
| 14 | GND | Erdungsreferenz für das Gerät |
| 15 | DIN | Serielle Dateneingabe |
| 16 | SCLK | Serieller Takteingang |



Das Gerät bietet eine 12-Bit-Auflösung und erzeugt 4096 verschiedene Ausgangspegel.Diese Auflösung ermöglicht eine präzise Anpassung der Ausgangsspannungen und unterstützt Anwendungen, die eine reibungslose Steuerung und konsistente Signalschritte über den gesamten Ausgangsbereich erfordern.
Acht separate DAC-Kanäle sind in einem einzigen Gerät integriert.Jeder Kanal arbeitet unabhängig, sodass mehrere Spannungsausgänge gleichzeitig und ohne Interaktion gesteuert werden können, was das Design von Mehrkanalsystemen vereinfacht.
Jeder Ausgang enthält eine interne Pufferstufe.Durch diese Pufferung kann der Ausgang externe Schaltkreise direkt ansteuern und gleichzeitig stabile Spannungspegel aufrechterhalten, wodurch der Bedarf an zusätzlichen externen Komponenten verringert wird.
Die Ausgangsspannung pendelt sich in etwa 10 Mikrosekunden auf ihren Endwert ein.Diese Reaktionszeit unterstützt Systeme, die zeitnahe Spannungsaktualisierungen ohne lange Verzögerungen zwischen Codeänderungen erfordern.
Das Gerät verwendet eine serielle Schnittstelle, die mit gängigen digitalen Steuerprotokollen kompatibel ist.Dadurch eignet es sich für den Anschluss an eine Vielzahl digitaler Steuerlogiken mit minimalen Signalleitungen.
Zur Definition des gesamten Ausgangsbereichs steht ein externer Referenzeingang zur Verfügung.Dadurch kann die Ausgangsspanne an die spezifischen Systemspannungsanforderungen angepasst werden.
Sowohl der analoge als auch der digitale Bereich werden mit Versorgungsspannungen zwischen 2,5 Volt und 5,5 Volt betrieben.Diese Flexibilität unterstützt den Einsatz in Niederspannungssystemen und gemischten Versorgungsumgebungen.
Die interne, stringbasierte Konvertierungsstruktur unterstützt ein monotones Ausgangsverhalten und reduziert Ausgangsstörungen bei Codeübergängen, was dazu beiträgt, reibungslose und vorhersehbare Spannungsänderungen aufrechtzuerhalten.
| Produktattribut | Attributwert |
| Hersteller | Analog Devices, Inc. |
| Spannung – Versorgung, digital | 2,5 V ~ 5,5 V |
| Spannung – Versorgung, analog | 2,5 V ~ 5,5 V |
| Gerätepaket des Lieferanten | 16-TSSOP |
| Einschwingzeit | 10µs |
| Referenztyp | Extern |
| Paket/Koffer | 16-TSSOP (0,173", 4,40 mm Breite) |
| Paket | Rohr |
| Ausgabetyp | Spannung – gepuffert |
| Betriebstemperatur | -40 °C ~ 125 °C |
| Anzahl der D/A-Wandler | 8 |
| Anzahl der Bits | 12 |
| Montageart | Oberflächenmontage |
| INL/DNL (LSB) | ±2, ±0,2 |
| Differenzausgang | Nein |
| Datenschnittstelle | SPI, DSP |
| Architektur | String-DAC |
| Basisproduktnummer | AD5328 |
| Feuchtigkeitsempfindlichkeitsniveau (MSL) | 1 (Unbegrenzt) |
| ECCN | EAR99 |
| HTSUS | 8542.39.0001 |

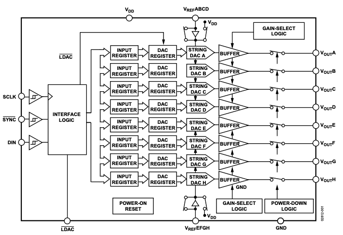
Die interne Struktur besteht aus acht identischen DAC-Kanälen mit den Bezeichnungen A bis H, die jeweils aus einem Eingangsregister, einem DAC-Register, einem Widerstandskettenkern und einem Ausgangspuffer bestehen, um unabhängige analoge Spannungen zu erzeugen.Die digitale Steuerung erfolgt über eine serielle Schnittstelle mit DIN-, SCLK-, SYNC- und LDAC-Signalen, die das Laden von Daten und Registeraktualisierungen über alle Kanäle hinweg verwalten.Zwei Referenzeingänge, VREFABCD und VREFEFGH, liefern programmierbare Vollaussteuerungspegel für separate Kanalgruppen, während die Verstärkungsauswahllogik die Ausgangsskalierung definiert.Die Power-On-Reset- und Power-Down-Logik verwaltet das Startverhalten und die Kanaldeaktivierung, und die gepufferten Ausgänge VOUTA bis VOUTH stellen niederohmige Spannungsausgänge bereit, die auf VDD und GND bezogen sind.

In der Schaltungskonfiguration arbeitet der AD5328BRU mit einer externen Spannungsreferenz und einer einzelnen Versorgung im Bereich von 2,5 V bis 5,5 V. Die Referenzquelle ist mit den Pins VREFABCD und VREFEFGH verbunden und mit einem lokalen Kondensator entkoppelt, um einen stabilen Referenzeingang für alle DAC-Kanäle sicherzustellen.Die Versorgungsentkopplung wird mithilfe paralleler 0,1-µF- und 10-µF-Kondensatoren implementiert, die zwischen VDD und Masse geschaltet sind, um Rauschen zu reduzieren.Die serielle Schnittstelle nutzt SCLK-, DIN- und SYNC-Leitungen zum Laden digitaler Daten, während die gepufferten Ausgänge VOUTA bis VOUTH unabhängige analoge Spannungen liefern, die auf die externe Quelle bezogen sind.
Der AD5328BRU dient zur Erzeugung von Steuerspannungen für Aktoren, Ventile und Regelkreise in automatisierten Systemen.Seine mehreren Ausgangskanäle ermöglichen die Anpassung mehrerer Prozessvariablen über ein einziges Gerät und unterstützen so eine koordinierte und wiederholbare Steuerung in Fabrik- und Anlagenumgebungen.
In Datenerfassungssystemen stellt das Gerät programmierbare Referenz- und Kalibrierspannungen über mehrere Kanäle bereit.Dies unterstützt Signalkonditionierungsaufgaben, bei denen neben digitalen Messkreisen auch konsistente und einstellbare Analogpegel benötigt werden.
Das Gerät eignet sich zum Einstellen von Ausgangspegeln in programmierbaren Netzteilen und Vorspannungsschaltungen.Seine Fähigkeit, stabile Spannungen über mehrere Kanäle zu erzeugen, ermöglicht die unabhängige Steuerung verschiedener Vorspannungspunkte innerhalb desselben Systems.
In Audio- und allgemeinen Signalsteuerungsanwendungen passt der AD5328BRU Verstärkungspegel, Offsets und Referenzspannungen an.Sanfte Ausgangsübergänge tragen dazu bei, kontrollierte Pegeländerungen ohne abrupte Schritte während der Anpassung aufrechtzuerhalten.
Tragbare Instrumente verwenden das Gerät zur Verwaltung von Referenzspannungen und einstellbaren Ausgangspegeln bei Betrieb mit niedrigen Versorgungsspannungen.Seine Integration trägt dazu bei, die Schaltkreisgröße zu reduzieren, was kompakte und leistungsbewusste Designs unterstützt.
Das Gerät wird in Kommunikations- und Testaufbauten eingesetzt, um programmierbare Spannungspegel für die Abstimmung, Offset-Steuerung und Signalsimulation zu erzeugen.Mehrere Ausgänge ermöglichen die Ansteuerung verschiedener Testpunkte unter koordinierter digitaler Steuerung.

Die mechanische Zeichnung definiert die physische Größe und das Layout des oberflächenmontierbaren 16-poligen Gehäuses und zeigt eine nominale Gehäusebreite und -länge von ca. 5,00 mm mit zulässigen Toleranzen.Die Pin-Nummerierung ist von Pin 1 bis Pin 16 angegeben, um die korrekte Ausrichtung bei der Montage sicherzustellen.Der Leitungsabstand ist auf 0,65 mm mit kontrollierter Koplanarität festgelegt, um einen ordnungsgemäßen Lötkontakt auf der Auflagefläche sicherzustellen.Die maximale Gehäusehöhe ist auf etwa 1,20 mm begrenzt, und seitliche Profilansichten zeigen Leitungsbiegewinkel und Abstandsabmessungen, die eine zuverlässige Montage auf Leiterplatten unterstützen.
• Acht Ausgangskanäle unterstützen kompakte Designs mit mehreren Ausgängen
• Gepufferte Ausgänge ermöglichen den direkten Anschluss an externe Schaltkreise
• Großer Versorgungsspannungsbereich für Niederspannungs- und Standardsysteme
• Vorhersehbares Ausgangsverhalten unterstützt eine stabile Spannungsregelung
• Integriertes Design reduziert die Gesamtanzahl der Teile
• 12-Bit-Auflösung begrenzt eine sehr feine Spannungseinstellung
• Die Ausgangs-Einschwinggeschwindigkeit ist eher moderat als schnell
• Externe Referenzeingabe fügt einen zusätzlichen Designschritt hinzu
• Die serielle Schnittstelle begrenzt die Aktualisierungsrate in einigen Systemen
| Teilenummer | Hersteller | Hauptmerkmale | Anwendungsfall/Hinweise |
| AD5328BRUZ-REEL7 | Analog Devices Inc. | 12-Bit-Oktal-DAC mit gepufferten Spannungsausgängen, SPI-kompatibler Schnittstelle, Betrieb mit geringem Stromverbrauch und Unterstützung für externe Referenzen.Lieferung als Band und Rolle für die automatische Montage. | Konzipiert für die Massenproduktion, bei der mehrere präzise Analogausgänge in kompakten, oberflächenmontierbaren Designs erforderlich sind. |
| AD5328BRUZ | Analog Devices Inc. | Gleiche 12-Bit-Auflösung und acht gepufferte Spannungsausgänge, SPI/DSP-Schnittstellenunterstützung und großer Versorgungsspannungsbereich im Röhrengehäuse. | Geeignet für Prototyping, Tests oder Kleinserienfertigung, bei denen manuelle Handhabung bevorzugt wird. |
| AD5328BRUZ-REEL | Analog Devices Inc. | Identische elektrische Leistung wie die Röhrenversion, mit achtkanaliger 12-Bit-DAC-Architektur mit gepufferten Ausgängen und serieller Steuerung. | Ideal für automatisierte Leiterplattenmontageprozesse in Industrie-, Instrumentierungs- und eingebetteten Steuerungsanwendungen. |
Analog Devices, Inc. ist ein globales Technologieunternehmen, das für die Entwicklung analoger, Mixed-Signal- und digitaler Signalverarbeitungslösungen bekannt ist.Das Unternehmen bedient ein breites Spektrum an Märkten, darunter Industriesysteme, Kommunikation, Gesundheitswesen, Automobil und Instrumentierung.Das Produktportfolio umfasst Datenwandler, Verstärker, Energiemanagementgeräte, Sensoren und Signalverarbeitungskomponenten, die eine genaue Messung und Steuerung unterstützen.Analog Devices legt großen Wert auf lange Produktlebenszyklen, Leistung auf Systemebene und Konsistenz über Produktfamilien hinweg, was Entwicklern hilft, zuverlässige Plattformen zu entwickeln, die im Laufe der Zeit gewartet und skaliert werden können.
Der AD5328BRU bietet Ihnen eine einfache Möglichkeit, mehrere Spannungsausgänge von einem kompakten Gerät aus zu verwalten.Seine 12-Bit-Auflösung ermöglicht eine reibungslose Steuerung, während acht gepufferte Kanäle dazu beitragen, zusätzliche Schaltkreise zu reduzieren.Durch die serielle Schnittstelle sind die Verbindungen minimal und einfach zu handhaben.Mit flexiblen Versorgungs- und Referenzmöglichkeiten fügt es sich problemlos in viele Systeme ein.Sie profitieren außerdem von einem vorhersehbaren Ausgabeverhalten, das einen stabilen Betrieb unterstützt.Insgesamt ist es eine praktische Wahl, wenn Sie eine saubere, analoge Mehrkanalsteuerung ohne zusätzliche Komplexität wünschen.
Bitte senden Sie eine Anfrage, wir werden sofort antworten.
Es wandelt digitale Daten über acht separate Ausgangskanäle in analoge Spannungen um.
Es bietet acht unabhängige gepufferte Spannungsausgänge mit den Bezeichnungen A bis H.
Das Gerät bietet eine 12-Bit-Auflösung und damit 4096 mögliche Ausgangspegel.
Ja, es verwendet externe Referenzeingänge, um den gesamten Ausgangsbereich zu definieren.
Es wird häufig in Automatisierungs-, Mess-, Signalsteuerungs- und programmierbaren Spannungsanwendungen eingesetzt.
auf 2025/12/23
auf 2025/12/23
auf 8000/04/19 147782
auf 2000/04/19 112065
auf 1600/04/19 111352
auf 0400/04/19 83823
auf 1970/01/1 79639
auf 1970/01/1 67004
auf 1970/01/1 63128
auf 1970/01/1 63067
auf 1970/01/1 54097
auf 1970/01/1 52218